Falmec Tempo Antico 90 (600) - Manuale d'uso

Falmec Tempo Antico 90 (600)

Cappa da cucina Falmec Tempo Antico 90 (600) – Manuale d'uso, leggi gratuitamente online in formato PDF. Speriamo che questo ti aiuti a risolvere eventuali dubbi. Se hai ulteriori domande, contattaci tramite il modulo di contatto.

1 Pagina 1
2 Pagina 2
3 Pagina 3
4 Pagina 4
5 Pagina 5
6 Pagina 6
7 Pagina 7
8 Pagina 8
9 Pagina 9
10 Pagina 10
11 Pagina 11
12 Pagina 12
13 Pagina 13
14 Pagina 14
15 Pagina 15
16 Pagina 16
17 Pagina 17
18 Pagina 18
19 Pagina 19
20 Pagina 20
21 Pagina 21
22 Pagina 22
23 Pagina 23
24 Pagina 24
25 Pagina 25
Pagina: / 25

Indice:

  • Pagina 7 – LIBRETTO ISTRUZIONI; SICUREZZA; AVVERTENZE
  • Pagina 8 – CARATTERISTICHE TECNICHE
  • Pagina 10 – FUNZIONAMENTO; COMANDO A 2 TASTI; PULSANTIERA A 5 TASTI
  • Pagina 11 – FILTRI; ISTRUZIONI PER L’ESTRAZIONE E LA SOSTITUZIONE; FILTRI METALLICI; FILTRI AL CARBONE ATTIVO; ILLUMINAZIONE; MONTAGGIO E SOSTITUZIONE; LAMPADA A PLAFONIERA
  • Pagina 12 – LAMPADA FLUORESCENTE; MANUTENZIONE E PULIZIA
  • Pagina 13 – GARANZIA
  • Pagina 14 – MONTAGGIO CAPPA AD ANGOLO SENZA BARRA; FISSAGGIO CAPPA SENZA CAMERA MOTORE
  • Pagina 24 – Condizioni di garanzia
  • Pagina 25 – La presente garanzia è valida solo per l’Italia; (Guarantee conditions are valid only for; CERTIFICATO DI GARANZIA; FALMEC
Caricamento dell'istruzione

Ed. 2014

Cod. 110030251 (CAPPE CLASSICHE)

INSTRUCTIONS BOOKLET

BEDIENUNGSSANLEITUNG

LIVRET D’INSTRUCTIONS

MANUAL DE INSTRUCCIONES

àçëíêìäñàü èé ùäëèãìÄíÄñàà

INSTRUKCJE OBS

Ł

UGI

LIBRETTO ISTRUZIONI

Italiano

English

Deutsc

h

Français

Español

на

русском

языке

P

olska

"Caricamento dell'istruzione" significa che è necessario attendere finché il file non è caricato e pronto per la lettura online. Alcune istruzioni sono molto grandi e il tempo di caricamento dipende dalla velocità della tua connessione a Internet.

Sommario

Pagina 7 - LIBRETTO ISTRUZIONI; SICUREZZA; AVVERTENZE

I LIBRETTO ISTRUZIONI AVVERTENZE A È molto importante che questo libretto istruzioni sia conservato insieme all’apparecchiatura per qualsiasi futura consultazione. Se l’apparecchio dovesse essere venduto o trasferito ad un’altra persona, assicurarsi che il libretto venga fornito assieme, in modo che...

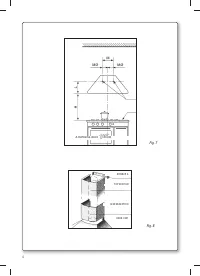
Pagina 8 - CARATTERISTICHE TECNICHE

6 Non collegare l’apparecchio a condotti di scarico dei fumi prodotti dalla combustione (caldaie, caminetti,ecc). Verificare che la tensione di rete corrisponda a quella riportata dalla targhetta posta all’interno della cappa. Non fare cotture a fiamma “libera” sotto la cappa. Controllare le friggit...

Pagina 10 - FUNZIONAMENTO; COMANDO A 2 TASTI; PULSANTIERA A 5 TASTI

8 F CAPPA IN VERSIONEA RICICLO INTERNO (filtrante) In questa versione l’aria passa attraverso i filtri di carbone attivo per essere purificata e viene riciclata nell’ambiente cucina.Controllare che i filtri al carbone attivo siano montati sul motore , in caso negativo applicarli come indicato nelle ...

Altri modelli di cappe da cucina Falmec

Tutti i cappe da cucina Falmec