Karcher K 5 UM Car 1.950-214 - Manuale d'uso

Karcher K 5 UM Car 1.950-214

Lavatrice a pressione Karcher K 5 UM Car 1.950-214 – Manuale d'uso, leggi gratuitamente online in formato PDF. Speriamo che questo ti aiuti a risolvere eventuali dubbi. Se hai ulteriori domande, contattaci tramite il modulo di contatto.

1 Pagina 1
2 Pagina 2
3 Pagina 3
4 Pagina 4
5 Pagina 5
6 Pagina 6
7 Pagina 7
8 Pagina 8
9 Pagina 9
10 Pagina 10
11 Pagina 11
12 Pagina 12
13 Pagina 13
Pagina: / 13

Indice:

  • Pagina 5 – Indice; Simboli riportati sull’apparecchio; Interruttore dell'apparecchio; Uso conforme a destinazione
  • Pagina 6 – Descrizione dell’apparecchio; Aggiuntivamente necessario; Montaggio; Alimentazione dell'acqua; Alimentazione da rete idrica
  • Pagina 7 – Nota; Funzionamento; Ugello per schiumatura; Trasporto
  • Pagina 8 – Pulire regolarmente il filtro nel raccordo dell'acqua.; Supporto
  • Pagina 9 – Dichiarazione di conformità UE
Caricamento dell'istruzione

001

Register
your product

www.kaercher.com/welcome

K 5 UM

59681880 (06/19)

Deutsch

5

English

10

Français

15

Italiano

20

Nederlands

25

Español

30

Português

35

Dansk

40

Norsk

45

Svenska

50

Suomi

55

Ελληνικά

60

Türkçe

65

Русский

70

Magyar

76

Čeština

81

Slovenščina

86

Polski

91

Româneşte

96

Slovenčina

101

Hrvatski

106

Srpski

111

Български

116

Eesti

121

Latviešu

126

Lietuviškai

131

Українська

136

"Caricamento dell'istruzione" significa che è necessario attendere finché il file non è caricato e pronto per la lettura online. Alcune istruzioni sono molto grandi e il tempo di caricamento dipende dalla velocità della tua connessione a Internet.

Sommario

Pagina 5 - Indice; Simboli riportati sull’apparecchio; Interruttore dell'apparecchio; Uso conforme a destinazione

– 5 Prima di utilizzare l'apparecchio per la pri-ma volta, leggere queste istruzioni per l'uso originali e le avvertenze di sicurezza in allegato. Agire corrispondentemente e conservare entrambi i li-bretti per un uso futuro o per un successivo proprietario. 몇 PRUDENZA  I dispositivi di sicurezza s...

Pagina 6 - Descrizione dell’apparecchio; Aggiuntivamente necessario; Montaggio; Alimentazione dell'acqua; Alimentazione da rete idrica

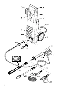
– 6 La fornitura del Suo apparecchio è riportata sulla confe-zione. Controllare che il contenuto dell'imballaggio sia completo.In caso di accessori assenti o danni dovuti al trasporto si prega di contattare il rivenditore. Per le figure vedi lato pieghevole 3 1 Collegamento dell'acqua con filtro mon...

Pagina 7 - Nota; Funzionamento; Ugello per schiumatura; Trasporto

– 7 ATTENZIONE Un funzionamento a secco di oltre 2 minuti determina dei danneggiamenti sulla pompa ad alta pressione. Nel caso in cui l'apparecchio non produca alcuna pressione entro 2 minuti, spegnere l'apparecchio e procedere se-condo le indicazioni riportate al capitolo „Guida alla riso-luzione d...

Altri modelli di lavatrici a pressione Karcher

Tutti i lavatrici a pressione Karcher