Miele KMDA 7676 FL-U BlackPerfection - Istruzioni
Miele KMDA 7676 FL-U BlackPerfection - Manuale d'uso in formato PDF online
Istruzioni:
Manuale d'uso Miele KMDA 7676 FL-U BlackPerfection
Sommario
Indice 3 Indicazioni per la sicurezza e avvertenze ....................................................... 8 Sostenibilità e tutela dell'ambiente .................................................................. 22 Presentazione del prodotto ............................................................
Indice 4 Uso ...................................................................................................................... 40 Indicazioni sulla sicurezza per l'uso .................................................................... 40Accendere il piano cottura ................................
Indice 5 Aspiratore integrato ............................................................................................. 50 Impostare il livello di potenza ......................................................................... 50Spegnere l'aspiratore integrato ....................................
Indice 6 Pulire la vaschetta raccogligocce dell'aspiratore integrato ................................. 67Pulire il vano interno dell'involucro dell'aspiratore integrato ............................... 67Pulire il vano interno dell'unità di aspirazione ...................................................
Indicazioni per la sicurezza e avvertenze 9 Uso corretto Questo piano cottura è destinato esclusivamente all'uso domesti- co. Questo apparecchio non è destinato all'impiego in ambienti ester- ni. Esso è destinato esclusivamente all'uso in ambito domestico per preparare e tenere in caldo le pie...
Indicazioni per la sicurezza e avvertenze 10 Bambini Tenere lontano dal piano cottura i bambini al di sotto degli otto an- ni, in alternativa sorvegliarli costantemente. I ragazzini più grandi e responsabili (a partire dagli otto anni) pos- sono eventualmente utilizzare l'apparecchio senza sorve...
Indicazioni per la sicurezza e avvertenze 11 Sicurezza tecnica Riparazioni o lavori di installazione e di manutenzione non corret- tamente eseguiti possono mettere seriamente in pericolo l'utente.Lavori di installazione e manutenzione nonché riparazioni possonoessere eseguiti solo da personale tec...
Indicazioni per la sicurezza e avvertenze 13 Se il piano cottura è stato montato dietro il frontale di un mobile (p.es. un'anta), non chiudere mai l'anta, mentre si utilizza l'elettrodo-mestico. Dietro il frontale del mobile chiuso si formano calore e umi-dità. Si possono danneggiare l'elettrodome...
Indicazioni per la sicurezza e avvertenze 14 Contemporaneo funzionamento con un fuoco alimentato da aria ambiente Pericolo di intossicazione a causa dei gas combustibili! Se la cappa viene messa in funzione mentre è attivo un fuoco(fiamma) alimentato con aria ambiente, è necessario adottare dellep...
Indicazioni per la sicurezza e avvertenze 16 Impiego corretto Quando è in funzione, il piano cottura diventa molto caldo e rima- ne tale per un po' di tempo anche dopo che è stato spento. Soloquando le indicazioni del calore residuo si spengono non si corre al-cun pericolo di scottarsi. L'olio o...
Indicazioni per la sicurezza e avvertenze 17 Quando il piano è acceso, o se lo si accende inavvertitamente op- pure se è ancora presente calore residuo sussiste il pericolo che og-getti metallici eventualmente appoggiati sulla superficie del pianopossano surriscaldarsi. Altri materiali possono fon...
Indicazioni per la sicurezza e avvertenze 18 Se sul piano cottura molto caldo cadono zucchero, sostanze zuc- cherine, plastica o carta stagnola e si fondono, quando si raffredda-no possono danneggiare la superficie in vetroceramica. Spegneresubito il piano cottura ed eliminare subito e a fondo que...
Indicazioni per la sicurezza e avvertenze 20 Non appoggiare le stoviglie calde sulla griglia di copertura dell'aspiratore. Il funzionamento dell'aspiratore si comprometterebbee la griglia di copertura potrebbe danneggiarsi. I liquidi possono danneggiare l'aspiratore. Tenere lontani dall'aspi- ra...
Indicazioni per la sicurezza e avvertenze 21 Pulizia e manutenzione Il vapore di un apparecchio di pulizia a vapore può giungere alle parti che conducono tensione e causare un corto circuito.Per pulire l'apparecchio non utilizzare mai un apparecchio a vapore. Se il piano cottura è montato su un ...
Sostenibilità e tutela dell'ambiente 22 Consigli per risparmiare ener-gia - Cucinare possibilmente sempre con pentole e padelle dotate di coperchio.Si evita così l'inutile dispersione dicalore. - Si consiglia di cuocere con poca ac- qua. - Dopo aver iniziato ad arrostire o a cuocere le pietanze port...
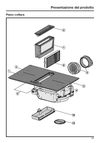
Presentazione del prodotto 25 Comandi e spie f d c a b m n o l j k i h g e a Tasto sensore On/Off del piano cottura b Tasto sensore zone di cottura PowerFlex XLPer collegare/separare manualmente le zone di cottura PowerFlex XL c Tasto sensore Tenere in caldoPer attivare/disattivare la funzione Tener...
Presentazione del prodotto 27 Informazioni sulle zone cottura Zona di cottura Dimensioni in cm 1 Potenza max. in watt a 230 V 2 Zona di cot- tura colle- gata 3 Ø 15–23 15 x 15 – 23 x 23 normaleTwinBooster, livello 1TwinBooster, livello 2 2.1003.0003.650 15–23 15 x 15 – 23 x 23 normaleTwinBoo...
Presentazione del prodotto 28 Power Management Potenza complessiva Il piano cottura dispone di una potenzaassorbita massima che per motivi di si-curezza non può essere superata. Èpossibile ridurre la potenza massima (v.cap. “Modificare le impostazioni”). Maggiore è la potenza complessiva delpiano co...
Presentazione del prodotto 29 Impostazioni Piano cottura spento Con il piano cottura spento è visibilesolo il simbolo serigrafato per il tastosensore On/Off . Quando si accende il piano cottura, si accendono altri tastisensore. Uso a Area dei tasti sensore e spie Il piano cottura in vetroceramica...
Presentazione del prodotto 30 Connessione in rete Il piano cottura è dotato di un modu-lo WLAN integrato. Il piano cottura puòessere collegato alla rete WLAN dome-stica oppure solo alla cappa aspiranteMiele. Miele@home Dopo aver installato l'app Miele su undispositivo mobile, è possibile eseguirele ...
Presentazione del prodotto 31 Funzioni Con@ctivity L'aspiratore integrato si accende in au-tomatico se le stoviglie di cottura sonosulla zona di cottura e se per la zona dicottura viene impostato un livello di po-tenza. Il livello di potenza dell'aspiratoreintegrato dipende dal livello di potenzadel...
Presentazione del prodotto 33 Spegnimento di sicurezza I tasti sensore sono coperti Se uno o più tasti sensore rimangonocoperti per più di 10 secondi, p.es. percontatto, a causa del trabocco dellepietanze o di oggetti appoggiati, il pianocottura si spegne automaticamente. Suldisplay del timer lampeg...
Presentazione del prodotto 34 Dispositivo antisurriscaldamento Per evitare danni al piano cottura dovutia temperature troppo elevate, il disposi-tivo antisurriscaldamento mette in attouna delle seguenti misure: Misure del dispositivo antisurriscal-damento - Un Booster acceso viene interrotto. - Ridu...
Avvio 35 Rimuovere l'imballaggio delpiano cottura Incollare la targhetta dati compresanella documentazione dell'apparec-chio nell'apposito spazio al capito-lo “Assistenza tecnica”. Rimuovere eventuali pellicole protetti-ve e adesivi. Pulire il piano cottura per laprima volta Pulire il piano co...
Avvio 36 Miele@home Installare l'app Miele L'uso dell'app Miele dipende dalla di-sponibilità dei servizi Miele@home delproprio paese. Le informazioni relativealla disponibilità sono riportate sul sitointernet www.miele.com. L'app Miele è disponibile gratuitamenteda Apple App Store ® o da Google Play...
Avvio 37 Connettere tramite app Miele - È presente una rete WLAN dome- stica. - Sul luogo di installazione del piano cottura è presente il segnale dellarete WLAN sufficientemente forte. - Non esiste una connessio- ne WLAN diretta tra piano cotturae una cappa aspirante Miele(Con@ctivity). - L'app Mie...
Avvio 38 Collegamento tramite WPS - È presente una rete WLAN dome- stica. - Sul luogo di installazione del piano cottura è presente il segnale dellarete WLAN sufficientemente forte - Non esiste una connessio- ne WLAN diretta tra piano cotturae una cappa aspirante Miele(Con@ctivity). - Si deve avere ...
Avvio 39 Interrompere il procedimento Toccare un tasto sensore qualsiasi. Resettare le impostazioni Resettare le impostazioni quando si eli-mina, si vende o si mette in funzione unpiano cottura usato. Solo in questo mo-do si garantisce che tutti i dati personalivengano rimossi e il proprietario pr...
Uso 40 Indicazioni sulla sicurezza per l'uso Pericolo di incendio a causa di pietanze surriscaldati. Le pietanze non sorvegliate possono surriscaldarsi e prendere fuo-co. Sorvegliare sempre il piano cottura quando è in funzione. Pericolo di ustionarsi a causa delle zone di cottura molto cal- de....
Uso 41 Accendere il piano cottura Toccare il tasto sensore . Tutti i tasti sensore si accendono. Se non segue alcuna ulteriore immis-sione, dopo alcuni secondi il pianocottura si spegne per motivi di sicu-rezza. Spegnere il piano cottura/lazona di cottura Spegnere il piano cottura Per spegner...
Uso 42 Livello di potenza Impostare il livello di potenza Di serie è attivo il rilevamento pentolacostante (v. capitolo “Modificare le im-postazioni”). Se il piano cottura è acce-so e si posiziona una stoviglie di cotturasu una zona di cottura, il display dellezone di cottura inizia a lampeggiare. ...
Uso 43 Booster Attivazione del Booster Se si attiva il Booster, l'impostazionedella zona di cottura accoppiata puòcambiare (v. capitolo “Presentazione delprodotto”, par. “Power Management”). È possibile utilizzare il Booster per: - una qualsiasi zona di cottura su cia- scun lato oppure - entrambe le...
Uso 44 Dispositivo automatico di iniziocottura Il tempo di inizio cottura dipende dal li-vello di continuazione cottura imposta-to: Livello di conti- nuazione cottu- ra* Tempo inizio cottura [min.:sec] 1 ca. 0:15 1. ca. 0:15 2 ca. 0:15 2. ca. 0:15 3 ca. 0:25 3. ca. 0:25 4 ca. 0:50 4. ca. 0:50 5 ca. ...
Uso 45 Timer Impostare i tempi del timer È possibile impostare il tempo partendoda 1 minuto ( : ) fino a 9 ore e 59 mi- nuti ( : ). I tempi fino a 59 minuti vengono im-messi in minuti (0:59), i tempi da 60 mi-nuti in ore e minuti. I tempi sono immessi tramite la scalanumerica e possono essere ...
Uso 47 Usare contemporaneamente le fun-zioni timer Se si utilizzano le funzioni contempora-neamente, compare sempre la duratadell'ultima funzione selezionata. Se si vogliono visualizzare le durateresidue che scorrono in sottofondo,toccare il tasto sensore o la rispet- tiva spia della zona di co...
Uso 48 Blocco accensione Attivare il blocco accensione Tutti i tasti sensore vengono bloccati.Un timer impostato continua a scorre-re. Toccare il tasto sensore per 6 se- condi. Sul display del timer i secondi scorronoa ritroso. Al termine sul display del timercompare . Il blocco accensione...
Uso 49 Attivare la funzione Recall Riaccendere il piano cottura. Subito dopo l'accensione toccare unadelle spie lampeggianti delle zone dicottura. Attivare/disattivare “Tenere incaldo” Con la funzione Tenere in caldo è possi-bile riscaldare gli alimenti raffreddatisi. Toccare il display della ...
Uso 50 Aspiratore integrato Impostare il livello di potenza Di serie sono impostati i livelli di poten-za da 1 a 3 e un livello Booster. I livellidi potenza sono ampliabili da 1 a 9 e unlivello Booster, (v. capitolo “Modificarele impostazioni”). Se l'aspiratore integrato non vienespento col funziona...
Uso 52 Dati piano cottura Visualizzare identificativo del model-lo/numero di serie Sul piano cottura non ci sono stovigliedi cottura. Accendere il piano cottura. Sfiorare contemporaneamente i tastisensore 0 e 4 sulla scala numericaper 6 secondi. Sul display del timer compaiono cifre insequenza, ...
Buono a sapersi 54 Piano cottura Funzionamento dei piani cottura a in-duzione Sotto ogni zona di cottura a induzione èsituata una bobina a induzione. Questabobina genera un campo magneticoche agisce direttamente sul fondo dellestoviglie e lo riscalda. La zona di cotturasi riscalda solo indirettament...
Buono a sapersi 55 Stoviglie di cottura Stoviglie adatte - acciaio inossidabile con fondo ma- gnetizzabile, - acciaio smaltato, - ghisa. Le caratteristiche del fondo delle stovi-glie possono influenzare i risultati dicottura (p.es. la doratura di frittate puòrisultare non uniforme). Il fondo dellest...
Buono a sapersi 56 Consigli per le stoviglie di cottura - Posizionare le stoviglie di cottura sulla rispettiva zona di cottura/area di cot-tura possibilmente al centro. - Per un uso ottimale della zona di cot- tura, scegliere una stoviglia di cotturacon un diametro del fondo adatto (v.cap. “Presenta...
Buono a sapersi 57 Aspiratore integrato Funzionamento dell'aspiratore integrato In base alla modalità selezionata, il flusso d'aria varia dopo l'aspirazione: Guida aria Filtro anti- grasso Canale Filtro a car- boni attivi Dall'edificio Ritorno in cu- cina Funzionamen-to a evacua-zione x x - x - Funz...
Buono a sapersi 58 Contatore ore di funzionamento Il tempo in cui l'aspiratore integrato è infunzione viene salvato. I contatori segnalano quando è il mo-mento di pulire o sostituire i filtri me-diante accensione del simbolo del filtroantigrasso o del filtro a carboni atti- vi (solo KMDA 7676 ...
Modificare le impostazioni 59 Visualizzare la programmazio-ne Il piano cottura è spento. Toccare i tasti sensore e finché appaiono il tasto sensore + e sul display del timer. Dopo alcuni secondi lampeggiano suldisplay del timer alternandosi : (pro- gramma 01) e : (codice). Impostare...
Pulizia e manutenzione 63 Avvertenze di sicurezza per la pulizia e la manutenzione Pericolo di ustionarsi a causa delle superfici molto calde. Al termine del processo di cottura, tutte le parti del piano cotturapossono essere molto calde. Spegnere il piano cottura. Far raffreddare il piano cottura...
Pulizia e manutenzione 64 Intervalli di pulizia Pulire sempre l'intero piano cotturadopo ogni uso. Pulire le superfici in vetrocera-mica Eliminare lo sporco leggero Pulire l'intera superficie in vetrocera-mica con un panno morbido umido edel detersivo per piatti diluito. Osser-vare le indicazion...
Pulizia e manutenzione 65 Griglia di copertura Estrarre la griglia di copertura La griglia di copertura potrebbe dan-neggiarsi.Estrarre la griglia di copertura dalKMDA verticalmente verso l'alto. Afferrare la griglia di copertura al cen-tro delle barre. Estrarre la griglia di copertura verti-cal...
Pulizia e manutenzione 66 Pulire il filtro antigrasso in lavastovi-glie Lavando il filtro antigrasso in lavastovi-glie, sulla superficie interna possonoverificarsi alterazioni di colore diverse epermanenti, a seconda del tipo di deter-gente impiegato. Questo non pregiudicail funzionamento del filtro...
Pulizia e manutenzione 67 Azzerare il contatore delle ore diesercizio del filtro a carboni attivi(soloKMDA 7676 FL-U) Nelle istruzioni d'uso e di montaggio delbox di ricircolo è indicato che il contato-re ore di funzionamento deve essere at-tivato per il filtro a carboni attivi. In que-sto caso non ...
Pulizia e manutenzione 68 Pulire il vano interno dell'unitàdi aspirazione Pulire il vano interno dell'unità di aspira-zione se a causa di eventuali trabocchi,del liquido è penetrato nell'aspiratoreintegrato. Pulire la vaschetta raccogligoccedell'aspiratore integrato (v. capitolo“Pulizia e manutenz...
Risolvere problemi 69 Segnalazioni sulle spie/sul display Problema Causa e rimedio Sul display del timerlampeggia alternato a e viene emesso un segnale acustico. Il piano cottura non è allacciato correttamente. Staccare il piano cottura dalla rete elettrica. Rivolgersi al servizio di assi...
Risolvere problemi 71 Comportamento inaspettato Problema Causa e rimedio Il livello di potenza 9 siriduce automaticamen-te se sulla zona di cot-tura collegata si impo-sta il livello di potenza9. In caso di funzionamento contemporaneo al livello dipotenza 9 si supera la potenza totale possibile. Ut...
Risolvere problemi 72 Risultato non soddisfacente Problema Causa e rimedio Con il dispositivo auto-matico di inizio cotturaattivato il contenutodelle stoviglie non sicuoce. Si riscaldano grandi quantità di alimenti. Selezionare il livello di potenza più alto e abbassa-re poi manualmente la tempera...
Assistenza tecnica 75 Sotto www.miele.it/c/service-10.htm si possono leggere le informazioni relativealla risoluzione autonoma di guasti e ai pezzi di ricambio Miele. Contatti in caso di guasto In caso di guasti che non si è in grado di risolvere da soli, contattare il rivenditoreMiele o il servizio...
Assistenza tecnica 76 Indicazioni per organismi di controllo Pietanze test secondo EN 60350-2 Di serie sono impostati nove livelli di potenza. Per la verifica secondo la norma impostare i livelli di potenza ampliati (v. cap. “Mo-dificare le impostazioni”). Pietanza test Fondo stoviglie di cot- tur...
Accessori su richiesta 77 Stoviglie per cuocere e arrosti-re Miele offre un'ampia gamma di stoviglieper cuocere e arrostire. Queste si adat-tano perfettamente agli elettrodomesticiMiele per la loro funzione e per le misu-re. Informazioni dettagliate sono pre-senti sul sito Miele. Filtro a carboni at...
Installare *INSTALLATION* 78 Indicazioni sulla sicurezza per il montaggio Danni causati da un montaggio errato. Un montaggio errato può danneggiare il piano cottura. Far montare il piano cottura solo da personale qualificato. Pericolo di scossa elettrica a causa della tensione di rete. Un allacc...
Installare *INSTALLATION* 80 Ulteriori indicazioni sulla sicurezza per il funzionamento a evacuazione L'aria di scarico non deve essere convogliata in un camino già in funzione per fumi o gas combusti, né in un canale che serve per laventilazione di ambienti dove si trovino dei fuochi. Se l'aria...
Installare *INSTALLATION* 81 Ulteriori indicazioni sulla sicurezza per la modalità Plug&Play Valore U La modalità Plug&Play è possibile in edifici più recenti e ristrutturati. Se la pareteadiacente o il pavimento sono adiacenti al terreno o all’aria esterna, il coefficientedi trasferimento t...
Installare *INSTALLATION* 82 Ulteriori indicazioni sulla sicurezza per il montaggio rialzato Danni causati da montaggio errato. Piano cottura e piano di lavoro possono danneggiarsi in caso dismontaggio del piano, se viene applicato del materiale isolante perle fessure. Non utilizzare guarnizioni p...
Installare *INSTALLATION* 83 Ulteriori indicazioni sulla sicurezza per il montaggio a filo Danni causati da materiale di guarnizione non adatto. Il materiale di guarnizione per le fughe può danneggiare la pietranaturale. Per la pietra naturale e le piastrelle in pietra naturale utilizzareesclusiva...
Installare *INSTALLATION* 84 Distanze di sicurezza Distanza di sicurezza sopra il pianocottura Tra il piano cottura e una cappa aspi-rante posta al di sopra dell'apparecchioè necessario mantenere la distanza disicurezza indicata dalla casa produttri-ce. Se sotto una cappa aspirante sonomontati più a...
Installare *INSTALLATION* 85 Distanza di sicurezza dietro e a latodel piano cottura Rispetto a una parete alta dell'ambienteo del mobile si devono osservare le se-guenti distanze minime: - dietro l'intaglio del piano di lavoro fino al bordo posteriore del piano dilavoro:50 mm e - a destra de...
Installare *INSTALLATION* 86 Distanza di sicurezza rispetto al rivestimento della nicchia Se si applica un rivestimento sulla nicchia occorre rispettare una distanza minimatra l'intaglio del piano di lavoro e il rivestimento. Le temperature elevata possonomodificare o danneggiare i materiali. Incass...
Installare *INSTALLATION* 87 Modalità Funzionamento a evacuazione Funzionamento a ricircolo guidato Modali- tà Plug&Play KMDA 7676 FL-A – – KMDA 7676 FL-U – possibile possibile – necessari altri accessori – La programmazione deve essere modificata – sono necessari altri accessori
Installare *INSTALLATION* 90 Misure d'incasso per il montaggio a filo KMDA 7676 FL-A, KMDA 7676 FL-U Tutte le misure sono indicate in mm. a Parte anteriore b Vaschetta di raccolta amovibile c Sportellino per la pulizia d Allacciamento alla rete elettrica con cavo di alimentazioneCavo di alimentazion...
Installare *INSTALLATION* 91 Funzionamento a evacuazione e a ri-circolo guidato per incasso rialzato Profondità piano di lavoro 600 mm KMDA 7676 FL-A, KMDA 7676 FL-U a La parete posteriore del corpo deveessere amovibile per gli interventi diservizio.Per la guida del canale di sfiato tra laparete del...
Installare *INSTALLATION* 92 Plug&Play per incasso rialzato Profondità piano di lavoro 600 mm KMDA 7676 FL-U a Per il flusso dell'aria di sfiato tra laparete del corpo e una parete del-l'ambiente o un mobile adiacentedeve essere mantenuta una distanzaminima di 25 mm. b La vaschetta di raccolta e...
Installare *INSTALLATION* 95 Plug&Play per incasso a filo Profondità piano di lavoro 600 mm KMDA 7676 FL-U a Per il flusso dell'aria di sfiato tra laparete del corpo e una parete del-l'ambiente o un mobile adiacentedeve essere mantenuta una distanzaminima di 25 mm. b La vaschetta di raccolta est...
Installare *INSTALLATION* 96 Collegamento al contatto fine-stra Il collegamento per il contatto fi- nestra è in tensione di rete.Gravi danni alle persone a causa discosse elettriche.Staccare il piano cottura dalla reteelettrica prima di allacciare il sistemadi attivazione.Il cavo di alimentazione ...
Installare *INSTALLATION* 97 Sostituire il ponte con un cavo di alimentazione del sistema di attiva-zione. Chiudere l'involucro. Riavvitare la vite del dispositivo fer-macavo. Reinserire il connettore.
Installare *INSTALLATION* 98 Incassare il piano cottura rialzato nel funzionamento a evacua-zione e a ricircolo guidato Praticare l'intaglio nel piano di lavoro. Rispettare le distanze di sicurezza (v. capi-tolo “Installare”, par. “Distanze di sicurezza”). Sigillare le superfici di intaglio dei ...
Installare *INSTALLATION* 99 Montare il piano cottura rialzato con Plug&Play Praticare l'intaglio nel piano di lavoro. Rispettare le distanze di sicurezza (v. capi-tolo “Installare”, par. “Distanze di sicurezza”). Accorciare la sagoma di foratura fornita nella parte superiore in base allo sp...
Installare *INSTALLATION* 100 Se la guarnizione sugli angoli non poggia correttamente sul piano di lavoro, èpossibile ritoccare i raggi (≤ R4) accuratamente con un seghetto a balestra. Allineare l'adattatore Plug&Play in modo da adattarlo al foro preesistente. Pre-mere l'adattatore alla pare...
Installare *INSTALLATION* 101 Incassare il piano cottura a filo con funzionamento a evacuazio-ne e a ricircolo guidato Praticare l'intaglio nel piano di lavoro. Rispettare le distanze di sicurezza (v. capi-tolo “Installazione”, par. “Distanze di sicurezza”). Piani di lavoro in legno massello/pia...
Installare *INSTALLATION* 102 Montare il piano cottura a filo con Plug&Play Praticare l'intaglio nel piano di lavoro. Rispettare le distanze di sicurezza (v. capi-tolo “Installazione”, par. “Distanze di sicurezza”). Accorciare la sagoma di foratura fornita nella parte superiore in base allo ...
Installare *INSTALLATION* 104 Installare il condotto di sfiato Se l'aspiratore integrato deve funzionare in presenza di fuochi ali-mentati con aria ambiente, a deter-minate condizioni può sussistere pe-ricolo di intossicazione!Leggere attentamente le “Indicazionisulla sicurezza e avvertenze”.In ca...
Installare *INSTALLATION* 105 Intaglio della parete posteriore senza sagoma di foratura Realizzare l'intaglio della parete posteriore per incasso rialzato e una profon-dità d'incasso di 23,8 cm Utilizzare preferibilmente la sagoma di foratura fornita. Seguire le seguenti istruzio-ni solo se la sagom...
Installare *INSTALLATION* 109 Allacciamento elettrico Danni causati da allacciamento errato.Riparazioni o lavori di installazione edi manutenzione non correttamenteeseguiti possono mettere seriamentein pericolo l'utente.Miele rende noto che non si assumealcuna responsabilità per danni diret-ti o i...
Installare *INSTALLATION* 110 Staccare l’apparecchio dalla reteelettrica Pericolo di scossa elettrica a causa della tensione di rete.Nel corso di lavori di riparazione e/omanutenzione una riattivazione dellatensione di rete può causare un cortocircuito.Dopo il distacco accertarsi che nonci possa e...
Installare *INSTALLATION* 111 Schema di allacciamento Sul luogo di installazione non è con-sentito qualsiasi tipo di allacciamen-to.Tenere conto e rispettare le normati-ve locali e le normative aggiuntivedell'azienda elettrica locale. L1 200-240 V~ 200-240 V~ 200-240 V~ a b c d e - L2 L3 N - L2 b L1...
Installare *INSTALLATION* 112 Schede prodotti Le schede prodotti dei modelli descritti nelle presenti istruzioni d'uso sono allegatedi seguito. Informazioni sui piani cottura elettrici a uso domestico ai sensi del regolamento (UE) n. 66/2014 MIELE Identificativo del modello KMDA 7676 FL-A, KMDA 7676...
Installare *INSTALLATION* 113 Scheda per cappe aspiranti ai sensi del regolamento delegato (UE) n. 65/2014 e del regolamento (UE) n.66/2014 MIELE Identificativo del modello KMDA 7676 FL-A Consumo annuo di energia (AEC hood ) kWh/anno Classe di efficienza energetica A+ Indice di efficienza energetica...
Installare *INSTALLATION* 114 Dichiarazione di conformità Miele dichiara che questo piano cottura in vetroceramica è conforme alla direttiva2014/53/UE. Il testo completo della dichiarazione di conformità UE è disponibile ai seguenti in-dirizzi internet: - Prodotti, download, www.miele.it - Service, ...
Miele Istruzioni
-
Miele APWM 063
Manuale di installazione
-
Miele APWM 020
Manuale d'uso
-
Miele APWM 020
Manuale di installazione
-
Miele SC
Manuale di installazione
-
Miele PR
Manuale di installazione
-
Miele FP 900
Manuale di installazione
-
Miele RP 900
Manuale di installazione
-
Miele APWM 019
Manuale d'uso
-
Miele APWM 019
Manuale di installazione
-
Miele PR 900
Manuale di installazione
-
Miele A 830/1
Manuale d'uso
-
Miele TT 86
Manuale d'uso
-
Miele RP 1150
Manuale di installazione
-
Miele APCL 001
Manuale di installazione
-
Miele E 473/2
Manuale d'uso
-
Miele FFK 01
Manuale di installazione
-
Miele FFK 01
Manuale
-
Miele DS 5
Manuale di installazione
-
Miele DS 10
Manuale di installazione
-
Miele DOS K 85 flex
Manuale di installazione