Pagina 2 - Indice; Spegnere/accendere/variare col dimmer la luce del piano cottura
Indice 2 Indicazioni per la sicurezza e avvertenze ........................................................... 4 Il Vostro contributo alla tutela dell'ambiente .................................................... 12 Funzionamento .......................................................................
Pagina 3 - Profumazione
Indice 3 Profumazione ....................................................................................................... 31 Funzione di profumazione ..................................................................................... 31 Estrarre il supporto profumatore ..........................
Pagina 4 - Indicazioni per la sicurezza e avvertenze; Uso corretto; Questa cappa aspirante è destinata all'impiego in ambito domesti-
Indicazioni per la sicurezza e avvertenze 4 Questa cappa aspirante è conforme alle vigenti norme di sicurez-za. Un uso improprio può comunque causare danni a persone e/ocose. Leggere attentamente le istruzioni d'uso e di montaggio prima dimettere in funzione la cappa. Contiene informazioni important...
Pagina 5 - Bambini
Indicazioni per la sicurezza e avvertenze 5 Le persone che per le loro capacità fisiche, sensoriali o psichiche o per la loro inesperienza o non conoscenza non siano in grado diutilizzare in sicurezza la cappa aspirante, non devono farne uso sen-za la sorveglianza e la guida di una persona respons...
Pagina 6 - Sicurezza tecnica; tito solo se questa è allacciata alla rete elettrica pubblica.
Indicazioni per la sicurezza e avvertenze 6 Sicurezza tecnica Riparazioni o lavori di installazione e di manutenzione non corret- tamente eseguiti possono mettere seriamente in pericolo l'utente.Lavori di installazione e manutenzione nonché riparazioni possonoessere eseguiti solo da personale tecn...
Pagina 7 - Non utilizzare la cappa aspirante in luoghi non stazionari (ad es.
Indicazioni per la sicurezza e avvertenze 7 Non utilizzare la cappa aspirante in luoghi non stazionari (ad es. sulle navi). Toccare anche involontariamente dei componenti sotto tensione o modificare la struttura elettrica e meccanica è molto pericoloso perl'utente e può provocare seri danni anch...
Pagina 8 - Impiego corretto
Indicazioni per la sicurezza e avvertenze 8 Impiego corretto Pericolo di incendio a causa di fiamme libere. Non lavorare mai con fiamme libere sotto la cappa aspirante. È quin-di vietato ad es. cuocere flambé e grigliare su fiamma libera. La cap-pa aspirante accesa aspira le fiamme nel filtro. Il ...
Pagina 9 - Uso del profumatore (accessorio su richiesta); pelle
Indicazioni per la sicurezza e avvertenze 9 Uso del profumatore (accessorio su richiesta) Può essere utilizzato esclusivamente un profumatore origina- le Miele previsto per l'uso nella cappa aspirante. Conservare il profumatore solo nella sua confezione originale, che per questo non deve essere ...
Pagina 10 - Installazione corretta
Indicazioni per la sicurezza e avvertenze 10 Installazione corretta Seguire le indicazioni del produttore dell'apparecchio di cottura per verificare se è consentito utilizzare una cappa aspirante sopra ta-le apparecchio. La cappa aspirante non può essere montata sopra fuochi alimen- tati da comb...
Pagina 11 - Accessori
Indicazioni per la sicurezza e avvertenze 11 Accessori Utilizzare esclusivamente pezzi di ricambio originali Miele. Se si montano o utilizzano altri accessori, il diritto alla garanzia e a presta-zioni in garanzia per vizi e/o difetti del prodotto decade.
Pagina 12 - Il Vostro contributo alla tutela dell'ambiente; Smaltimento dell’imballaggio
Il Vostro contributo alla tutela dell'ambiente 12 Smaltimento dell’imballaggio L’imballaggio ha lo scopo di proteggerela merce da eventuali danni di trasporto.I materiali utilizzati per l’imballaggio so-no riciclabili, in quanto selezionati se-condo criteri di rispetto dell’ambiente edi facilità di ...
Pagina 13 - Funzionamento; Funzionamento a ricircolo
Funzionamento 13 Funzionamento a ricircolo La cappa aspirante funziona esclusiva-mente a ricircolo. L'aria aspirata viene purificata dai filtriantigrasso e, in aggiunta, dal filtro deu-midificatore. Infine l'aria viene guidata attraverso unfiltro antiodore e ricondotta in cucinadal lato superiore de...
Pagina 16 - Primo avvio; Estrarre il filtro antigrasso.; Connettere il Miele@home; – una rete WLAN
Primo avvio 16 Le impostazioni descritte in questo ca-pitolo si effettuano sul pannello dellacappa aspirante. Il pannello si trova die-tro il filtro antigrasso. Estrarre il filtro antigrasso. Connettere il Miele@home Presupposto: – una rete WLAN – la app Miele@mobile – un account utente Miele. L'a...
Pagina 17 - Collegare tramite app
Primo avvio 17 Collegare tramite app È possibile creare la connessione di re-te con la app Miele@mobile. Installare l'app Miele@mobile sul pro-prio terminale mobile. Per la registrazione occorrono: 1. la password della rete WLAN 2. la password della cappa aspirante. La password della cappa aspiran...
Pagina 18 - Collegare tramite WPS
Primo avvio 18 Collegare tramite WPS Il router WLAN deve essere predispo-sto al WPS (WiFi Protected Setup). Spegnere la cappa aspirante. Tenere premuto il tasto “ ”. Premere contemporaneamente il ta-sto dell'illuminazione . 2 rimane acceso, 3 lampeggia. La connessione WLAN deve essere atti...
Pagina 20 - Connettere la Con@ctivity; – Quando si accende un piano cottura,
Primo avvio 20 Connettere la Con@ctivity La Con@ctivity costituisce la comunica-zione diretta tra un piano cottura elettri-co Miele e una cappa aspirante Miele.Essa consente alla cappa di attivarsi infunzione del piano cottura elettricoMiele. – Quando si accende un piano cottura, l'illuminazione e, ...
Pagina 21 - – piano cottura Miele predisposto
Primo avvio 21 Con@ctivity tramite una connessioneWLAN diretta (Con@ctivity 3.0) Presupposto: – piano cottura Miele predisposto WLAN Se non si dispone di una rete domesti-ca, è possibile collegare direttamente ilpiano cottura alla cappa aspirante. Il collegamento è descritto nelle istru-zioni d'uso ...
Pagina 22 - Tempi di reazione
Uso (funzionamento automatico) 22 Se è attiva la Con@ctivity, la cappaaspirante funziona sempre nella mo-dalità automatica (v. cap. “Primo av-vio”, par. “Connettere la Con@ctivity”). Se si vogliono azionare i comandi del-la cappa aspirante manualmente (fun-zionamento manuale), leggere il capi-tolo “...
Pagina 25 - Impostare il livello di potenza
Uso (funzionamento manuale) 25 Cuocere senza la funzioneCon@ctivity (funzionamentomanuale) È possibile azionare manualmente lacappa aspirante alle seguenti condizio-ni: – la funzione Con@ctivity non è attiva. – La funzione Con@ctivity è stata disat- tivata temporaneamente (v. “Uso(funzionamento auto...
Pagina 26 - Spegnimento di sicurezza; Per riattivarlo premere il tasto On/Off; Illuminazione Ambiente
Uso (funzionamento manuale) 26 Power Management (regolazio-ne automatica) La cappa dispone di un sistema di re-golazione automatica, il Power Manage-ment. Il Power Management serve perrisparmiare energia. Fa sì che l'aspirato-re passi in automatico a livelli più bassie che l'illuminazione del piano ...
Pagina 27 - Consigli per il risparmio energetico
Consigli per il risparmio energetico 27 Questa cappa aspirante lavora in modoefficiente e a risparmio energetico. I se-guenti accorgimenti sono di ulterioresupporto a una gestione attenta ai con-sumi. – Aerare bene la cucina durante la cot- tura. – Cucinare possibilmente a bassi livelli di cottura. ...
Pagina 28 - Modificare le impostazioni
Modificare le impostazioni 28 È possibile modificare le impostazionidella cappa aspirante con i relativi tasti. Le impostazioni descritte in questo ca-pitolo non possono essere modificatecon la app Miele@mobile. Estrarre il filtro antigrasso. Modificare il contatore filtroantigrasso È possibile ad...
Pagina 30 - Deumidificazione; Funzione di deumidificazione; – è possibile abbassare il volume ridu-
Deumidificazione 30 Funzione di deumidificazione Il filtro deumidificatore sottrae una partedi umidità ai vapori di cottura. Al termi-ne della cottura il filtro deumidificatoresi asciuga con una funzione azionatadai sensori. L'umidità raccolta viene ce-duta nuovamente all'aria ambiente.L'aspiratore ...
Pagina 31 - Funzione di profumazione; Effetti nocivi sulla salute e peri-
Profumazione 31 Funzione di profumazione Il profumatore cede del profumonell'ambiente indipendentemente dalfunzionamento della cappa aspirante. È possibile gestire la funzione tramite laapp Miele@mobile. È possibile attivare un'unica immissionedi profumo oppure indicare dei tempi, incui possono esse...
Pagina 32 - Conservare il profumatore
Profumazione 32 Conservare il profumatore Se si desidera conservare per un perio-do un profumatore ancora non consu-mato, utilizzare la confezione di vendita. La sostanza contenuta nel profuma-tore potrebbe fuoriuscire.Non inclinare, ribaltare oppure posi-zionare sul retro il profumatore aper-to.Non...
Pagina 33 - Pulizia e manutenzione; Staccare la cappa aspirante dalla; Involucro; In generale; Filtro antigrasso; Rischio di incendio
Pulizia e manutenzione 33 Staccare la cappa aspirante dalla rete elettrica prima di qualsiasi inter-vento di manutenzione e pulizia (v.cap. “Istruzioni per la sicurezza e av-vertenze”). Involucro In generale Le superfici e i dispositivi di coman-do potrebbero danneggiarsi se si uti-lizzano prodott...
Pagina 34 - Intervalli di pulizia
Pulizia e manutenzione 34 Intervalli di pulizia Perché se il grasso depositato rimane alungo sui filtri si indurisce e ne rende piùdifficoltosa la pulizia. Per questo motivosi consiglia di pulire il filtro antigrassoogni 3-4 settimane. Il contatore delle ore di funzionamentoricorda di pulire regolar...
Pagina 35 - Dopo la pulizia
Pulizia e manutenzione 35 Pulire il filtro antigrasso in lavastovi-glie Posizionare il filtro antigrasso possi-bilmente in orizzontale o leggermenteinclinato nel cestello superiore o infe-riore. Assicurarsi che il braccio irrora-tore possa muoversi liberamente. Utilizzare un detersivo per lavast...
Pagina 36 - Filtro antiodore; Intervallo di rigenerazione
Pulizia e manutenzione 36 Filtro antiodore Un filtro antiodore lega gli odori che sigenerano durante la cottura. Viene ap-plicato in aggiunta al filtro antigrasso. Il filtro antiodore viene montato sul latosuperiore della cappa aspirante. Il filtro antiodore può essere utilizzatopiù volte grazie all...
Pagina 37 - ma
Pulizia e manutenzione 37 Pericolo di ustioni È possibile bruciarsi con il filtro anti-odore molto caldo.Non estrarre il filtro antiodore caldodal vano cottura e non posarlo su su-perfici sensibili al calore.Non inserire il filtro antiodore caldonella cappa aspirante. Far raffreddare il filtro a...
Pagina 39 - Installazione; Prima dell'installazione; Prima di effettuare i lavori di in-; Schema di montaggio
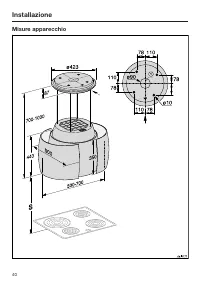
Installazione *INSTALLATION* 39 Prima dell'installazione Prima di effettuare i lavori di in- stallazione, leggere tutte le informa-zioni contenute in questo capitolo enel capitolo “Istruzioni per la sicurez-za e avvertenze”. Schema di montaggio Le singole fasi di montaggio sono de-scritte nelle is...
Pagina 41 - Distanza tra piano cottura e cappa aspirante (S)
Installazione *INSTALLATION* 41 a Passaggio per il cavo di alimentazione Distanza tra piano cottura e cappa aspirante (S) Per la distanza tra il dispositivo di cottura e il bordo inferiore della cappa, osser-vare le indicazioni del produttore dell'apparecchio di cottura.Qualora non fossero indicate ...
Pagina 42 - Consigli per l'installazione
Installazione *INSTALLATION* 42 Consigli per l'installazione – Si deve comunque garantire un age- vole movimento anche sopra pianicottura elettrici; quindi si consigliauna distanza minima di 650 mm. – Per la distanza della cappa dal piano cottura, tenere presente anche l'al-tezza dell'utente. La cap...
Pagina 43 - Assistenza tecnica; Targhetta dati
Assistenza tecnica 43 In caso di guasti che non possono es-sere eliminati personalmente, rivolgersial servizio di assistenza tecnica autoriz-zata Miele. Il numero del servizio di assistenza tec-nico è indicato alla fine di queste istru-zioni d'uso. Comunicare all'assistenza tecnica mo-dello e n. di ...
Pagina 44 - Dati tecnici; Modulo WLAN; Accessori su richiesta per il funzionamento a ricircolo
Dati tecnici 44 Motore aspiratore 105 W Illuminazione piano cottura 10 W Illuminazione ambiente 15,4 W Potenza massima assorbita 130,4 W Tensione di rete, frequenza AC 230 V, 50 Hz Protezione 10 A Peso 24,6 kg Modulo WLAN Banda di frequenza 2,400 – 2,4835 GHz Potenza max. di trasmissione < 100 mW...
Pagina 45 - Scheda per cappe aspiranti
Dati tecnici 45 Scheda per cappe aspiranti ai sensi del regolamento delegato (UE) n. 65/2014 e del regolamento (UE) n.66/2014 MIELE Identificativo del modello DA 7378 D Aura4.0 Ambient Consumo annuo di energia (AEC hood ) 31,6 kWh/anno Classe di efficienza energetica A+ Indice di efficienza energeti...